Supapa fluture cu mâner canelat este ușoară, are o viteză de comutare relativ rapidă și o distanță de operare mică. Are cuvinte de deschidere și de închidere pe el, care pot identifica cu ușurință situația de comutare.
Supapa fluture cu mâner canelat este ușoară, are o viteză de comutare relativ rapidă și o distanță de operare mică. Are cuvinte de deschidere și de închidere pe el, care pot identifica cu ușurință situația de comutare.
| Materialul corpului | Fontă nodulară |
| Model | D81X-16Q |
| Caietul de sarcini | DN50-200 |
| Presiunea nominală | 1,0/1,6/2,5Mpa |
| Temperatura de functionare | 0-80°C |
| Media aplicabile | apă |
| Standarde de proiectare | GB/24924-2016 |
Prezentare generală a produsului
Această supapă este o supapă fluture etanșată cu cauciuc (NBR), care este utilizată pe scară largă în sistemele de conducte de alimentare cu apă și drenaj în energie electrică, hidraulică, metalurgie, industria chimică, construcții urbane și alte industrii ca dispozitiv de deschidere și închidere sau de reglare pentru a controla fluxul de medii. Supapa fluture cu canelură (clemă) este un nou tip de supapă de conectare concepută și fabricată prin introducerea unor produse similare avansate din Statele Unite și Germania.
Caracteristici
Este rapid, ușor și sigur de instalat, nu este restricționat de locul de instalare, este convenabil pentru întreținerea conductelor și supapelor, are izolație la vibrații și fonic și depășește abaterea cauzată de conexiunea coaxială a conductelor într-un anumit interval de unghi. Rezolvă avantajele dilatarii și contracției termice cauzate de diferențele de temperatură.
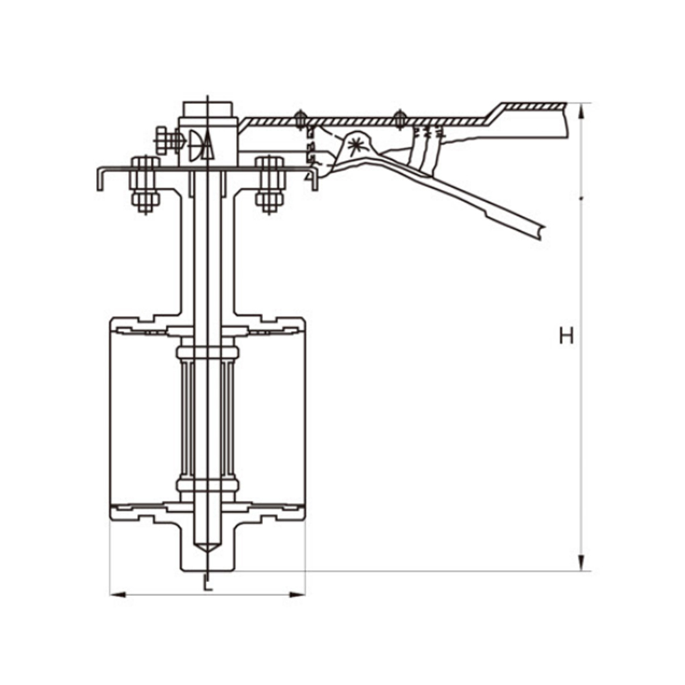
Parametrii produsului
| D81X-16Q | DN | 50 | 65 | 80 | 100 | 125 | 150 | ||
| L | 80 | 80 | 80 | 102 | 110 | 110 | |||
| H | 180 | 195 | 215 | 260 | 285 | 315 | |||
| Cercul exterior | 60 | 76 | 89 | 108 | 114 | 140 | 159 | 165 | |
DESPRE Changshui
Changshui Technology Group Co., Ltd.is a valve integrating R&D, manufacturing, sales and service The manufacturer is currently one of the main suppliers of general-purpose valves in China. The main products are: gate valves, globe valves, butterfly valves, ball valves, check valves, regulating valves, pressure reducing valves, diaphragm valves, plug valves, plunger valves, drains Valves, hydraulic control valves, etc. Produsele de înaltă calitate au fost lăudate și respectate de utilizatori din diverse industrii și sunt utilizate pe scară largă în construcții, încălzire, alimentare cu apă, petrol, chimie, energie electrică și alte industrii! Scopul companiei este de a contribui la societate cu produse de înaltă calitate. „Scopul nostru este de a face utilizatorii satisfacție”. Politica noastră de calitate este: „Să îndeplinească nevoile și așteptările utilizatorilor pentru calitatea produsului și să faceți un salt înainte Nivelul de management al calității de primă clasă, fabricarea de produse de primă clasă, crearea de servicii de primă clasă, „CSHUValve Industry are Compania este dispusă să lucreze cu prieteni noi și vechi, și colegi din societate, iar utilizatorii din țară și din străinătate să se unească din nou, și Floor, creați o nouă glorie!
Introducere în componentele supapei fluture O supapă fluture este un tip de supapă versatil și utilizat pe scară largă în diverse industrii, cun...
READ MOREProbleme obișnuite cu supapa de gunoi Supapele de tip poartă sunt componente esențiale în diverse sisteme industriale și rezidențiale, oferind o...
READ MOREÎnțelegerea supapelor de reținere O supapă de reținere este un dispozitiv mecanic care permite fluidului sau gazului să curgă într-o singură dir...
READ MORE1. Prezentare generală a fontului ductil Fonta ductilă, cunoscută și sub denumirea de fontă nodulară sau fontă grafit sferoidal, este un tip de ...
READ MORE1. Înțelegerea supapelor și a scaunelor Supapele și scaunele sunt componente esențiale în controlul fluxului de lichide sau gaze în conducte, mo...
READ MORE